
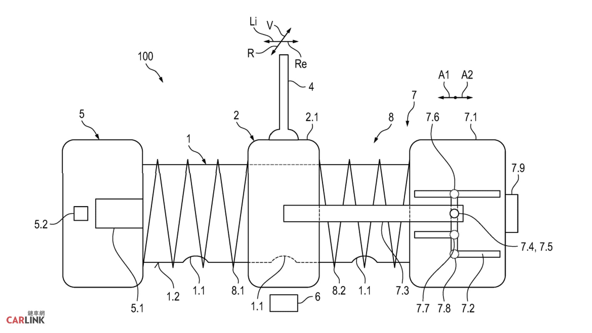
這不是天方夜譚,因為Porsche保時捷全新的線控換檔系統,將為駕駛者帶來魚與熊掌兼得的完美呈現~自排or手排任君挑選!但不是現在...目前還只是專利...保時捷已申請一項新的變速箱換檔結構專利,該換檔機制可根據駕駛員的偏好,實現手動或自動換檔模式。Porsche早於 2024年8月向德國專利商標局提交出該專利的申請,但直到今年3月初才公佈。




說穿了,這種自排、手排共存的換檔系統,其實是利用線控換檔裝置,一般操作方式與標準自動變速箱類似,透過前後移動,直接切換R檔、N檔、D檔等功能,但藉由H形的軌道設計,排檔桿可以做出更多種移動變化,允許駕駛左右以及前後移動排檔桿,接著駕駛者就可以像使用機械手排變速箱一樣,選擇所需的檔位。好處是檔位切換還是由電腦執行,排檔桿充其量只是下命令,因此具備打錯檔仍不會炸引擎的防呆設計,但缺點當然是手感當然不可能像純手排那麼讚,而且沒有離合器可以踩...您可以自行裝一個假踏板...可以想像,此系統乃是藉由感測器追蹤排檔桿的運動,但仍有彈簧和電動馬達「模擬換檔的感覺」避免空洞與空虛感的出現!但傷感情的時刻來了~這套線控手排、自排切換系統只能搭類傳統自排或是雙離合器自動手排,當然不能搭配傳統手排變速箱,所以理所當然沒有離合器踏板可以踩,真的要自己改裝然後裝模作樣!或許這樣的概念,真的可以應用在電動車身上,反而更有趣、更受歡迎也說不定。


這或許是一個很棒的想法,但實際結構和換檔效率,比起Koenigsegg的光速換檔變速箱仍有很大的差別!因此Porsche的構思或許真的是有趣,但是在性能方面就只是一種「自我感覺良好」的定義,並沒有實質的助益,也不太可能應用在GT2或GT3性能車款上,真的沒有意義...或許Porsche該想想如何改變整個變速箱的效率,一如光速換檔系統那樣...事實上,目前已經有了方向盤換檔撥片,許多超級跑車也都是靠這換檔撥片完成升降檔或是排入空檔的動作,加上排檔座的切換按鈕,已可實現高水平的駕馭感受與氛圍,個人覺得,如果真的要設計一個真正能在自排與手排之間完美換的變速箱,應該是以手排為基礎會更好,至少還有離合器踏板可以踩...還能研究跟趾動作的奧妙...


